麻烦不断,王健林被逼到了绝望的边缘
(来源:新行情)

债务压力步步紧逼,王健林焦头烂额。
出品 | 新行情 作者 | 李新

大连万达集团再被强执24亿
曾经站在商业顶端的王健林,如今麻烦不断,牵动着公众的神经。
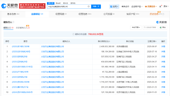
近日,大连万达集团股份有限公司新增一则被执行人信息,执行标的24亿余元,执行法院为北京金融法院。
据天眼风险信息显示,大连万达集团股份有限公司现存10条被执行人信息,被执行总金额超76亿元,此外,该公司还存在多条股权冻结信息。

此外,由大连万达集团股份有限公司和王健林等共同持股的大连万达商管也在前不久遇上了麻烦——
此前,国家企业信用信息公示系统网站显示,大连万达商业管理集团股份有限公司新增两则股权冻结信息,冻结股权数额合计超1.4亿,冻结期限均为三年,执行法院均为江苏省南京市中级人民法院。


股权被冻结,意味着万达无法自由处置这些股权,直接受到了极大的掣肘。
更头疼的是,大连万达商管的麻烦事还不止这一件。
据天眼查App显示,因未按执行通知书指定的期间履行生效法律文书确定的给付义务,大连万达商业管理集团股份有限公司及其法定代表人张春远被限制高消费,涉及建设工程施工合同纠纷案件。

案件流程信息显示,该公司因有履行能力而拒不履行生效法律文书确定义务,被天津市蓟州区人民法院列为失信被执行人(老赖),履行情况为全部未履行。今年6月,该公司已因此案被执行157万余元。
种种情况,对于如今债务缠身的王健林而言,无异于是危机重重,压力山大,让人叹息,昔日首富,风光不再。
而这一切,或许都要源于万达之前那场令人惊心动魄的“对赌协议”——
2016年,万达因港股估值长期低迷选择退市,计划回归A股以获取更高估值。为推动这一进程,万达与投资者签订对赌协议,承诺若2018年8月前未能完成A股上市,需按12%的年利率回购股份并支付利息。
没想到,2017年时,市场风向突然变了,万达多次尝试上市均以失败告终,王健林的A股上市梦被击碎了。同时,380亿元的回购条款,引爆了万达的资金危机。
由此可见,企业在狂奔式的规模扩张路上,更需健康稳定的发展根基。
商业竞争从来不是一场只看速度的短跑,而是考验耐力与平衡感的马拉松——那些能在激进扩张与风险防控间找到支点、始终留在牌桌上的玩家,才能在行业周期的更迭中积蓄力量,最终在关键节点握住改写格局的筹码,成为真正笑到最后的赢家。
毕竟,当潮水退去时,只有夯实底盘的企业,才能在裸泳者离场后,依然拥有丈量深海的底气。

王健林不断抛售资产
面对债务压力,王健林选择了“卖卖卖”的方式来还债——
2023年,王健林多次出让万达电影股权,并且最终失去了实际控制权。
2024年,王健林累计出售了近26座万达广场,并转让了美国传奇影业股权、英国圣汐游艇公司等海外资产。
到了今年5月,王健林更是一举卖掉了48座万达广场——
据国家市场监管总局披露的信息,太盟珠海、高和丰德、腾讯控股、京东潘达、阳光人寿保险直接或通过其各自关联方共同设立合营企业,并通过合营企业收购大连万达直接或间接持有的48家目标公司的100%股权。

而今年7月底时,王健林又卖了一座万达广场——
国家企业信用信息公示系统显示,滁州万达广场投资有限公司发生工商变更,大连万达商业管理集团股份有限公司退出股东行列,新增廊坊市泽瑞通科技有限公司全资持股,同时该公司法定代表人、董事等均发生变更。

除此之外,王健林还出售了其他资产——
今年4月,王健林作价24.9亿元将万达酒店管理公司100%股权卖给同程旅行,彻底退出酒店业务的核心管理板块;7月,拟2.4亿出售快钱金融30%股权……

可见,王健林的不断抛售资产的行为充满了艰辛与无奈,更难的是,王健林一边抛售资产解决问题一边又在不断出现新的麻烦,可谓是压力山大。
不过,在万达危机层层加码、困局步步紧逼的当下,王健林未曾选择逃避躲闪,而是以直面困局的姿态面对问题,这份在风雨飘摇中不避责、不退缩的担当,着实值得称道。
万达的未来究竟将何去何从,让我们拭目以待。
相关文章

最新留言